PENNCOM: Coordinating the Eyes and Ears of Public Safety

by Christopher Algard and Dick Saunders

A year ago, the Division of Public Safety's Strategic Plan (Almanac Supplement March 26, 1996) emphasized that the greatest promise for improvement of safety and security on campus is security technology.

Since that time, the division has looked at a host of products and tested many that seemed promising for this campus and its varied needs. Perhaps more important is the planning work that sets up the framework for using technology, in combination with an array of police and emergency services, to address each safety problem in the most effective way.

This is an overview of some of the devices that can--in some cases already do--contribute to improved safety indoors or outdoors at Penn. The primary systems being used are:

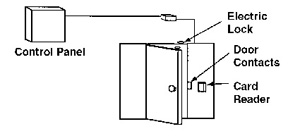
The large diagram at right shows the information flow of the systems into the command and control center, known as PENNCOM.

The philosophy for the use of technology is to increase the prevention of crime and decrease the response time for law enforcement or other life safety services to respond to any life threatening incident. Each system depicted above serves a certain function for meeting this criteria.

The Command and Control Center (PENNCOM) is the central dissemination point for all the information provided by the various field devices that send back to the corresponding system. All of these inputs of information are fed to the Computer Aided Dispatch System (CAD) where the appropriate response unit is called into action to deal with the event. For instance, if an alarm came in through the Access Control System that a door in a certain building had been forced open, that information would be relayed from the Access Control System operations monitor to the CAD. Here it would be recorded and a Police/Security Officer on patrol nearest that building would be radio dispatched to investigate. The radio communications would then allow PENNCOM to be in constant contact with the responding officer should additional resources be required to deal with the incident. As can be seen, the technology acts as additional "eyes and ears" allowing Public Safety to effectively and appropriately respond to Life Safety issues.

Each of the PENNCOM systems provides various features that are essential for the operation of a state-of-the-art Command and Control Center. Each area will be discussed generically with more detail to follow in future publications.

For the Command Center, the operations console/work area is ergonomically designed to allow the operators quick movement to any area and for arm's length operations of any of the pieces of equipment used. The speed of assessing a situation, making a decision, then responding the correct way can sometimes mean the difference between life and death. This, then, is a factor in the wraparound design of a command center. All of the services outlined above will eventually operate out of a single Command and Control Center once the new Public Safety facility is completed. Currently, these operations are divided between the original Public Safety building on Locust Walk and the new facility on 40th Street.

The systems used all have field device or remote device inputs to there equivalent "head-end" central receiving computer located at PENNCOM. The field devices provide specific inputs that allow for the CAD operators to correctly respond to any received alarm.

Access Control System

The Access Control System consists of a main computer at PENNCOM which controls the database for the system related to card holders, card readers, door locations per building, door alarm points per building, etc. At each building there is another smaller computer housed in a Controller Panel which is designed to manage up to 8 doors and the corresponding door devices. This panel can communicate with the main computer through a variety of network options. Based on the significant LAN and fiber network already in place, the panels will connect to the LAN via TCP/IP and communicate with the host. Should the network not be available in certain areas, the panels can be connected back to the host via fiber optics, dedicated copper lines, dial-up phone lines or even with cellular phones as a last resort. Each of these panels is equipped with a 4-hour battery backup which will support all Access functions at the building level should the building power be interrupted. It will support all readers, door locks and hardware.

The panels are designed to control the access to the buildings independent of the host. Each panel can store up to 100,000 card holder records if necessary. Most will be configured to store from 10-40,000 on average. The most important reason the panels need to communicate with the host is in the event of an alarm. If an alarm is triggered, the panel will continue to attempt to connect with the host until such time it can deliver the alarm information. The panels will store thousand of transactions until such time as communications are restored.

As the PENNCOM diagram depicts the "Readers" can consist of a standard Magnetic Stripe card reader, or more sophisticated types, such as a Biometric "Reader" which can read a physical characteristic of the person to validate their identity. The Hand Geometry and Iris Scan Biometric Readers are being evaluated for possible use in the Residential facilities and certain laboratories where personal verification is required. Also depicted is a RF -Receiver "Reader." This is used in cases where the individual has difficulty swiping or inserting a card into a reader. This will allow for the use of garage door opener type RF Transmitter, where simply pressing the device will emit a coded signal unique to that individual that will be recorded and verified just like any other card before automatically opening a door. Most ADA doors will be equipped with a similar device for ease of access, but yet not compromise the building security.

It is the vision of Public Safety that most buildings on campus will eventually have, as a minimum, all exterior doors monitored by standard Public Safety designated equipment through PENNCOM to ensure the security of those buildings. This would consist of a card reader for all standard "Entry" doors. Those doors would also have an electric lock to allow for automatic locking of doors after hours, door contacts for monitoring the status of the door, and some type of exit device that meets Public Safety Standards and the fire code for emergency egress. In addition each reader door would have a Request to Exit (REX) device that would shunt the door alarm when someone exits through the door. This is necessary since the door contacts when parted will set off an alarm. It is only when the system is electronically told through a valid card read or a request to exit shunt that it ignores the open contacts and sends no alarm. All doors can also be timed to allow them to stand open for a determined period of time with no alarm. Should someone hold the door open too long a "Propped Door Alarm" will be sent to PENNCOM. All exterior exit doors (typically non-entry doors) would have as a minimum door contacts to mon-itor the status of the door and the appropriate exit hardware to meet fire code requirements. This will give an alarm to PENNCOM should someone force the door open. This configuration will provide good ground floor level security. Card Readers may also be added to any interior doors in the buildings as deemed necessary.

The Access Control System can also monitor motion detectors, glass break detector, environmental alarms, etc., with all events being reported back to PENNCOM.


Intrusion Alarm System

The University has almost 400 different "burglar alarm systems" or intrusion alarm systems on campus. All were installed by different companies over many years and most are different from each other. Public Safety will standardize on a single intrusion alarm system and will convert over those systems that are currently being used. This will allow for a dramatic savings in maintenance alone, and will also provide a standard response to real alarms that will greatly improve the safety of the campus community. Due to the poor condition of many of the existing systems, Public Safety responds to mostly "false alarms." This waste of work-force and the dilution of the people resources for "real needs" will be eliminated with this standardization. The field devices for the intrusion alarm system consist of motion detectors, for detecting movement in areas after normal working hours; glass break detectors, that detect the frequency of breaking glass should someone break a window to gain entrance; holdup/panic duress alarms in the bathrooms, environmental detectors such as water, heat, cold are also supported. All areas of use are being standardized. For instance, in all the rest rooms, holdup/duress alarms are being installed as well as a local audible alarm outside the door of the room. The same alarms and audibles will be used throughout the campus. In addition, both the access control system and the intrusion alarm system support the use of asset protection devices.

Currently, some school units are securing computers and audiovisual equipment using fiber-optic loops that when broken will sound an alarm or pull plug systems that when the equipment is unplugged will sound an alarm. Keypads are available with the systems to allow a user to arm and disarm the system for the rooms that are being monitored. These keypads or command centers are usually mounted on a wall adjacent to the alarmed area or at one of the entrances to the building.

Similar to the control systems, one or a number of communication panels are required at the building location. The number and type of devices needed will be located based on the requirements of the building. The communications panel uses a digital dialer to speed dial PENNCOM to report any alarm conditions. They use standard telephone lines for reporting. These panels are also equipped with a 4-hour battery backup to insure security in the event of a power failure. The host computer at PENNCOM receives the alarm inputs and makes a permanent record of all alarms as they come in. The access control system has a software driver that will allow the system read all of the intrusion alarms and report them directly through the one system. The advantage of this interface is that only one operator is needed to manage the operation of the system since most events will be coming through one system, one operations monitor screen.

Closed Circuit Television

Describing the technology as an extension of Public Safety's "eyes and ears" best defines the purpose of the video technology in conjunction with other security systems. The use of video cameras has now become a part of our way of life. All retail stores, banks, ATM machines and even hospitals use cameras to monitor their customers. All use cameras and video for reasons of personal safety and property protection. The University is looking into the use of very high speed rotating cameras for certain applications, fixed cameras for others and remote dial-up video transmitters and receivers for even others.

One of the applications is the use of the high speed cameras in conjunction with the placement of the emergency blue light phones through out campus. The plans call for the cameras to be installed at strategic locations where 2 to 3 emergency blue light phones could be targeted by one camera. The speed-dome can turn a complete 360 degree sweep in under a second. It can also be programmed to positions predefined. With the speed and the programming flexibility, one camera can be programmed to target the 2 to 3 phones. By integrating the two systems, i.e. the emergency blue light phones, and the speed-dome camera system it will allow for the PENNCOM operators to immediately see when an emergency phone is picked up. When the picture pops up the operation immediately knows what service to send. Should the victim be injured, but unable to articulate that, the operator could see it and send a rescue unit along with a police officer. That difference in time could save a life. This is a good example of how the technology infrastructure can truly enhance performance.

Digital video transmitters and receivers will also be used for transmitting video over long distances using a dial-up telephone. Due to the very expensive installation cost for the use of fiber optics or coaxial cable, this is a very good alternative for most applications.

Cameras are under consideration for use in the parking garages and other public areas vulnerable to crime.


Emergency Blue Light Phones

Public Safety is in the process of installing emergency blue light phones throughout the campus. The purpose of this technology is to increase the accessibility of individuals to emergency communications for getting assistance. This selection again goes back to standards. The selected phones are designed using International Standards and are recognizable by citizens of all nations.

Also the location of the phones will now be standardized, so that any student will know that a phone is located at all the intersections on campus.

The new phones are solar-powered, self-testing and use cellular technology to communicate with the host computer at PENNCOM. As soon as the phone handle is raised the operator knows immediately where that person is located and quickly dispatch assistance.

Computer Aided Dispatch

Another new and innovative technology being used is what is termed "Computer Aided Dispatch." This is a fully automated system that will allow for expeditious dispatch of officers when needed. All activity will be recorded and audited over time for performance management. All inputs from the systems, access control, CCTV, intrusion alarms, and 511 calls go directly to CAD for dispatch.

Radio Dispatch

Radio Dispatch is the cornerstone for PENNCOM communications with the 100 Uniformed Police Officers, and the 200 Security Guards. Through Radio Dispatch all alarms, incoming calls, etc. are relayed to the police officers most closely located to the incident area. It is this tool that the police officers and security guards use at all times in the field.

In summary, Public Safety is determined to implement what ever it takes to provide the campus and surrounding community a continuing sense of security and well-being.

_______

Mr. Algard is Director of Security in the Division of Public Safety. Mr. Saunders is senior account manager for Penn with Sensormatic Electronics Corporation, the security firm working with the Division on safety technology.


Almanac

Volume 43 Number 26
March 18, 1997


Return to Almanac's homepage.

Return to index for this issue.